IT之家 12 月 30 日消息,打造一款敞篷车并非易事。去掉车顶会带来各种各样的难题,既有车身刚性这类关键问题,也包括敞篷状态下维持座舱静谧性这类细节问题。数十年来,后者的解决方案一直是在前排乘客后方安装某种风挡装置。尽管部分车型配备了精致的电动可伸缩风挡,但这类装置大多是外形丑陋、操作繁琐的塑料件,需要手动卡入固定位置。不过,一项新专利的落地或许会让保时捷 911 和 Boxster 特敞篷车彻底告别这类风挡。

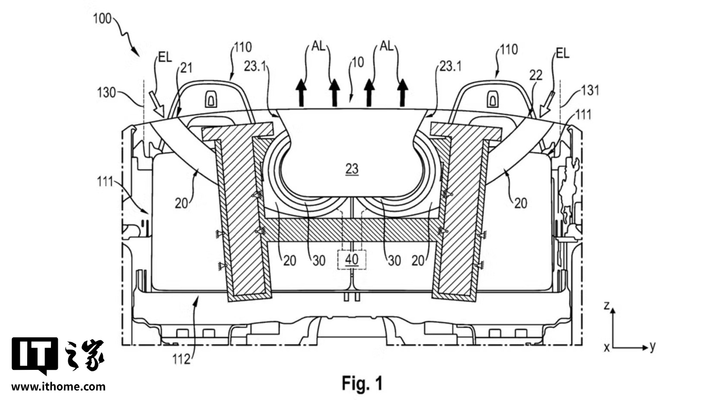
这项保时捷专利由世界知识产权组织公布,已于去年由德国专利商标局正式发布。该专利利用气流本身的力量来隔绝外部气流侵入座舱,本质上是打造了一道“空气屏障”。其工作原理出人意料地简单,下方的示意图也清晰地呈现了这一点:在乘客舱后方设有一组风道,外侧风道大致从车身两侧吸入空气。专利图示显示,气流取自车身顶部和侧面的进气口,但理论上气流也可以从车身侧翼的进气口引入。

随后,气流会通过风道进入中央区域,这里安装有一台或两台驱动径向风扇的电机。这类风扇的原理与汽车空调系统的鼓风机类似,甚至和笔记本电脑里的微型风扇原理相通。风扇的作用是调节进气量的大小,从而确保车辆在任何行驶速度下,都能提供理想的气流量。风扇将气流通过位于车辆中央的出风口吹出,而这个位置恰好是传统实体风挡的安装处。

除了调节气流量,保时捷在专利中还提到,出风口配备了可调节导流叶片。通过调整叶片角度,气流的形态和走向能够适配不同的车速,达到最佳的扰流效果。这套系统的最终效果,是借助吹出的气流形成一道屏障,阻挡车外紊乱气流涌入座舱,同时摒弃了传统实体风挡那种操作麻烦、外观突兀的设计。
据IT之家了解,通过合理引导气流可以实现许多超乎想象的效果。以迈凯伦 Elva 为例,这款车型上市时并未配备玻璃风挡,为了让乘客免受强风直吹,迈凯伦专门设计了一组风道,将车身下方的进气气流向上引导,使气流从乘客头顶掠过,以此实现挡风效果。既然迈凯伦能想出如此巧妙的驭风方案,保时捷自然也有能力做到。

这套系统的结构看起来也相对简单,并不比汽车的空调系统更复杂,核心部件无非就是风道、风扇和出风口。因此,保时捷有望在不久的将来完成该技术的研发,并将其搭载于量产车型。该系统唯一可能存在的短板在于空间占用和重量控制,风道和风扇需要占据一定的安装空间,这可能会进一步压缩本就紧张的行李厢容积。此外,尽管这套系统的零部件已经尽可能轻量化,但重量肯定无法与轻薄的传统塑料网式风挡相媲美。这或许意味着,保时捷敞篷车的 Spyder 或 T 轻量化版本,可能不会搭载这项配置。
联系电话:18610562898
联系地址:北京市海淀区海淀西大街72中关村创业大街拓荒族